Для Технолога:
Твердость покрытия: 800-1200 кгс/мм².
Точность: толщина покрытия до 10 мкм (±1 мкм).
Универсальность: сверла, метчики, фозы диаметром до 10 мм.

| № | Технические характеристики | Параметры |
| 1 | Вид упрочнения | Электрохимическое осаждение наноструктурированного хром-алмазного покрытия на постоянном токе |
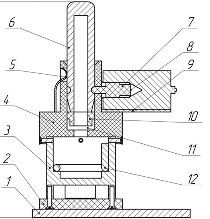
| 2 | Обрабатываемые изделия | Инструменты цилиндрической формы (сверла, метчики, пуансоны, фрезы) диаметром до 10 мм, длиной – 50…100 мм с рабочей частью, расположенной в нижней части инструмента. |
| 3 | Обрабатываемые материалы | Быстрорежущие, инструментальные и конструкционные стали |
| 4 | Толщина покрытия | менее 10 мкм |
| 5 | Потребляемая мощность | менее 15 Вт |
| 6 | Время обработки | 3…15 минут |
| 7 | Расход электроэнергии | менее 4*10-3 кВт ч на одно изделие |
| 8 | Объем электролита | 5 см3 |
| 9 | Материал анода | Свинец |
| 10 | Твердость покрытия | 800…1200 кгс/мм2 |
| 11 | Вид работы устройства | автоматический |
| 12 | Стабилизированный ток | 0,1…0,6 А |



